Всё об автозвуке

Вернуться   Всё об автозвуке > Рыночные отношения > Куплю
Регистрация Новые сообщения Правила форума Справка Сообщество Календарь Поиск

Важная информация

Куплю Покупка. Естественно, только автозвук и сопутствующие товары

Ответ
 
Опции темы Опции просмотра
Старый 13.02.2014, 11:47   #1
Marik
 
Аватар для Marik
 
Регистрация: 13.10.2010
Адрес: Новая Каховка
Сообщений: 103
Вы сказали Спасибо: 0
Поблагодарили 0 раз(а) в 0 сообщениях
Репутация: 50
По умолчанию Куплю разъем аудиовхода для Alpine IVA-D106R

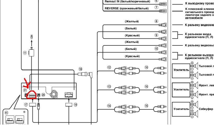
Собственно куплю разьем аудиовхода ( на картинке указан ) для этого альпа.
Миниатюры
Нажмите на изображение для увеличения
Название: Безымянный.JPG
Просмотров: 558
Размер:	60.6 Кб
ID:	39474  
Marik вне форума   Ответить с цитированием Вверх
Старый 16.02.2014, 14:41   #2
dmons
 
Аватар для dmons
 
Регистрация: 14.06.2013
Адрес: Киев
Возраст: 42
Сообщений: 164
Вы сказали Спасибо: 0
Поблагодарили 0 раз(а) в 0 сообщениях
Репутация: 56
По умолчанию Re: Куплю разъем аудиовхода для Alpine IVA-D106R

Цитата:
Сообщение от Marik Посмотреть сообщение
Собственно куплю разьем аудиовхода ( на картинке указан ) для этого альпа.
Я для своего IVA-D105E сам делал. Схему распиновки срисовывал с 106 Ивы в магазине. Нужен только аудиовхо(AUX IN) или весь жмуток с разъемами?
dmons вне форума   Ответить с цитированием Вверх
Ответ


Здесь присутствуют: 1 (пользователей: 0 , гостей: 1)
 

Ваши права в разделе
Вы не можете создавать новые темы
Вы не можете отвечать в темах
Вы не можете прикреплять вложения
Вы не можете редактировать свои сообщения

BB коды Вкл.
Смайлы Вкл.
[IMG] код Вкл.
HTML код Выкл.

Быстрый переход

Похожие темы
Тема Автор Раздел Ответов Последнее сообщение
прочее Куплю кабель AUX видео/аудио к Alpine IVA-D106R sk1100 Куплю 1 27.08.2013 19:15
(клеммы, разветвители, коннекторы) Куплю разъем питания к Alpine IVA-W202 molinero Куплю 5 27.11.2011 00:31
Alpine IVA-D106R d.l.s. Автомагнитолы и автомультимедия 0 17.09.2011 22:16
(автомагнитола/ГУ) Куплю разъем для Alpine IVA-W502R (AV IN) ove76 Куплю 3 11.12.2010 16:41
Alpine IVA-D106R Sasha_Dragster Автомагнитолы и автомультимедия 4 25.06.2010 14:37


Текущее время: 18:25. Часовой пояс GMT +2.


Перевод: zCarot
autozvuk.org ©